比热容测量仪空气绝热指数测定仪
- 发布者:新 闻 资 讯 发表时间:2020-03-13
- 实验指导书
一、实验目的
1、学习测量空气绝热指数据的方法;
2、通过实验,培养运用热力学的基本理论处理实际问题的能力;
3、通过实验,进一步加深对刚性容器充放气现象的认识。
二、实验装置及测试原理
在热力学中,气体的定压比容cp与定容比热cv之比 被定义为该气体的绝热指数,以k表示,即K=Cp/Cv。
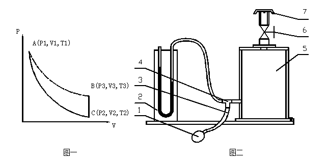
本实验利用定量气体在绝热膨胀过程和定容加热过程中的变化规来制定空气的绝热指数K。其P-V图如图1所示。图中AB为绝热膨胀过程,BC为空气加热过程。图AB为绝热过程,所以

1、 充气阀 2、U型压差计 3、连接胶管 4、三通 5、刚性容器 6、排气阀 7、排气罩
BC为定容过程,所以V2=V3
假设状态A与C所处温度相同,则T1=T3
所以,根据理想气体的状态方程,对于状态A、C可得:

因此,只要同A、B、C三状态下的压力,P1、P2、 P3,且将其代入(4)式,即可求得空气的绝热指数K。
三、实验设备
本实验的实验设备如图2所示

实验时,通过充气阀对刚性容器进行充气,至状态A,由U型差压计测得A状态的表压力为h1mmH2O,如图3状态A,我们选取容器内一部分气体作为研究对象,其体积为V1,压力、温度为P1、T1,假设通过排气阀放气,使其压力与大气压力相平衡,恰好此时V1的气体通过膨胀至整个容器(体积为V2),立刻关闭排气阀,膨胀过程结束。因此P2=P(大气压力),由于此过程进行得十分迅速,可忽略容器的传热。因而可以认为此过程为定量气体的绝热膨胀过程,即由状态A(P1,V1,T1)绝热膨胀至状态B(P2,V2,T2)。(注意V2等于容器体积,V1为一小于容器体积的假想体积)。处于状态B的空气,由于其温度低于环境温度,刚性容器内的气体通过刚性容器壁与外界环境交换热量,当容器内的气体温度与环境温度相等时,系统处于新的平衡状态C(P3,V2,T3).若忽略刚性容器的体积变化,此BC过程可以认为为定容加热过程。此时容器内的气体压力可由差压计测得h3mmH2O。至此,选作为研究对象的气体,从A经过绝热膨胀过程至B,以经过定容加热过程至C,且状态A、C所处温度同为环境温度,实现了图1中所示的过程。
四、实验步骤
1、实验前,认真阅读本实验指导书,了解实验原理。
2、进入实验室后,根据实验指导书,对照实物熟悉实验装置。
3、实验中,由于对装置的气密性要求较高,因此,在实验开始时,首先应检查其气密性,通过充气阀对刚性容器充气至状态A,使h=200mmH2O左右,然后观察h值5分钟,看H值是否发生变化。若不变化,说明气密性满足要求,若变化,说明装置漏气。
此步骤一定要认真,否则将给实验结果带来较大的误差,同时读出h1值。
4、右手转动排气阀,在气流流出的声音“拍”消失的同时关上排气阀,恰到好处,操作者可在实验开始以前先练习几次。
5、待U型差压计的读数稳定后,读取h3,稳定过程需5分钟。
6、重复以上步骤,多做几遍,将实验值填在实验数据的表格中,并求K值。
五、计算公式
如果将前述的(4)式直接用于实验计算的话,那是比较麻烦的。因此,针对我们的实验条件,现将(4)式进行适当简化。
设U型差压计的封液(水)密度为r=9.81×10³N/m³,实验时的大气压力则为Pa »10⁵Pa。因此状态A的压力可表示为P1=Pa+h1状态B的压力可表示为P2=Pa状态C的压力可表示为P3=Pa+P1。将其代入(4)式得:

实验中由于刚性容器受压的限制,一般取。且h3< h1,因此则有:
,h1/ Pa<<1,(h1- h3)/(Pa+h 3)<<1。
所以,按照近似计算方法,(5)式可简化为:

这即为利用本实验装置测定空气绝热指数K的简化(近似)计算公式。
六、实验数据计算和整理
环境条件:
室温ta= ℃ 大气压力为Pa= mmHg 湿 度 %

空气绝热指数的理论值K=1.4
相对误差K-Ki/K×100%=
七、实验要求
1、预习实验指导书,明白实验原理,熟悉实验方法,实验时认真动手操作
2、书写实验报告,其内容除实验数据记录和整理外,还包括实验原理简述。
实验设备简介和对有关问题的讨论。
1、漏气将对实验结果有何影响?
2、实验中若未取下防尘罩,将对实验结果产生什么影响?
3、实验中,充气压力选得过大或过小,对实验结果有何影响?
4、空气的湿度对实验结果有何影响?
5、在BC定容加热的过程中,如何确定容器内的气体回到了初温?
6、若实验中,转动排气阀的速度较慢,这将对实验结果产生什么影响?
找不到想找的产品?请点击 产品导航页
热门产品 / Hot Products
振霖产品中心product center
产品介绍
- 电工电子实验装置
- 电子工艺实训设备
- 维修电工实训设备
- 电机调速实验装置
- 汽车底盘教学设备
- 汽车发动机实训设备
- 汽车示教板系列
- 全车电路实训装置
- 新能源实训设备
- 环境工程实训设备
- 新能源汽车实训设备
- 制冷制热实验装置
- 传感器教学设备
- 电气考核装置
- PLC可编程实训台
- 供配电技术实训设备
- 光机电实验装置
- 教学实验箱系列
- 工业自动化实训台
- 单片机实验设备
- 模电数电教学设备
- 电梯实训装置
- 机械仿真教学设备
- 机械构造实训设备
- 液压气动实验装置
- 智能楼宇实验装置
- 化学工艺实验室设备
- 流体力学实验设备
- 过程控制实训设备
- 机械陈列柜系列
- 工程制图实验室设备
- 钳工焊工实训室设备
- 工程机械实训设备
- 透明注塑机模型
- 工程液压实训设备
- 透明整车实验设备
- 船舶工程实训设备
- 数控机床实训装置







